Технологии беспроводной передачи энергии: мифы и реальность

Технологии беспроводной передачи энергии: мифы и реальность

Технологии беспроводной передачи энергии: мифы и реальность
Автор: Академия Суперайс
2.4K

Исследования в области электромагнитных явлений, проводившиеся во второй половине XIX века, привели к созданию беспроводных технологий. Вначале это относилось только к сфере телекоммуникаций. По мере развития других областей техники возникла нужда в бесконтактных системах излучения мощности на значительные расстояния. К таким областям относятся электротранспорт и беспилотные летательные аппараты с электрическими силовыми установками.

Стимулом для появления таких технологий стало появление космической энергетики, позволяющей получать дешёвое электричество благодаря энергии Солнца. По оценкам некоторых исследователей, получение такой электроэнергии обходится в 3–5 раз дешевле, чем при использовании традиционных способов получения мощности. Сложилась ситуация, когда доступный и практически неисчерпаемый ресурс имеется, а средств его доставки наземным потребителям пока нет.

Актуальность затронутой темы иллюстрирует тот факт, что около 80% территории нашей страны не охвачено проводными электросетями. Предлагаемый материал подготовлен для того, чтобы ознакомить читателей с современными подходами к решению задачи беспроводной передачи электричества.

Время чтения: 15 минут

Современное состояние технологий

Одним из первопроходцев в области исследований беспроводного излучения был знаменитый электротехник Н. Тесла, продемонстрировавший свечение фосфорных источников света без проводов. В разные годы свой вклад в развитие бесконтактного обмена энергией внесли такие исследователи и изобретатели, как А. С. Попов (Россия), Д. Боше (Индия), Г. Маркони (Италия) и другие.

В результате человечество получило беспроводные технологии передачи энергии, которые изначально были внедрены в телекоммуникациях. Наглядным примером такого использования служит линия доставки энергии от передатчика к антенне (или от антенны к приёмнику) по открытой линии передачи, называемой лучеводом. Схема, иллюстрирующая этот способ, изображена на следующем рисунке.

лучевод
Организация лучевода

Лучевод состоит из следующих элементов:

  • источника первичного электромагнитного СВЧ поля (1);
  • переизлучающего зеркала (2);
  • приёмника поля СВЧ (3).

Источник (приёмник) поля — это рупорный облучатель, открытый конец волновода и т. д.

В рассматриваемом случае зеркальная антенна с большим коэффициентом усиления (4) выполняет функцию потребителя. Вместо неё может подключаться любая нагрузка. Волна, создаваемая источником, отражается переизлучающим зеркалом в сторону приёмника, выполняющего одновременно роль облучателя зеркальной антенны. При значительном расстоянии между передатчиком и источником поля потери в такой линии меньше, чем других типах передающих трактов.

Для доставки электричества в промышленных объёмах понадобились новые подходы. Так, в 1976 году У. Браун (США) предложил энергетическую антенну (ректенну). Ректенна состояла из собственно антенны и выпрямителя на диодах Шоттки. Это устройство позволяло преобразовывать электромагнитное поле в электрический ток, но обладала рядом недостатков. Главные из них — низкая надёжность и затратность. Такой подход нуждался в коренной переработке, что и было сделано во второй половине прошлого века российскими учёными из МГУ, создавшими новый тип конвертора сигнала СВЧ в ток — им стал циклотронный преобразователь.

Принципы работы и технические аспекты

Для беспроводной доставки мощности учёные применили разные физические принципы, где каждый отличается техническими ограничениями по передаче энергии. Рассмотрим основные подходы, нашедшие практическое применение.

Лазерное излучение

Этот вид связи достаточно давно применяется в телекоммуникациях для излучения широкополосных сигналов. В качестве среды распространения оптического сигнала чаще всего используются оптоволоконные линии. Реже применяется открытый оптический канал, но для беспроводной передачи именно он представляет практический интерес. Источником сигнала служит лазерный излучатель, а приёмником — фотоэлемент. Такая система способна работать только при оптической видимости между передающим и приёмным оборудованием.

Главные плюсы такого способа:

  • самая большая передаваемая мощность;
  • существенная дальность доставки;
  • безопасность излучения для любых биологических объектов, находящихся вне лазерного луча;
  • самая высокая концентрация передаваемой мощности в узком телесном угле, т. е. в направлении конкретного получателя (в 5 раз более высокая, чем та, которую обеспечивают устройства диапазона сверхвысоких частот — СВЧ).

Из минусов: скромный КПД и значительная зависимость потерь от оптических характеристик атмосферы. В свою очередь, оптическая прозрачность атмосферы зависит от осадков, тумана, запылённости, загазованности и т. д.

Одним из примеров реализации такого способа энергообеспечения беспилотных летательных аппаратов служит российский проект Комитета инновационных проектов РКК «Энергия», датированный 2018 г. Оборудование позволяет беспилотнику находиться в воздухе круглосуточно за счёт подзарядки аккумуляторов от лазерного луча, следящего за местоположением подвижного объекта.

Радиоизлучение

Любая радиолиния представляет собой канал излучения сигнала от передатчика к приёмнику. Но, в отличие от системы радиосвязи, при передаче беспроводной энергии должна обеспечиваться доведение до потребителя максимума допустимой технологией мощности.

Эффективность передачи энергии с помощью радиоволн растёт с увеличением частоты излучения благодаря использованию узконаправленных антенн, поэтому для этой цели выбран диапазон СВЧ. Кроме того, волны этого диапазона проходят через земную атмосферу с минимальным затуханием, что принципиально для космических силовых установок. Циклотронные преобразователи используются в системах доставки космического электричества, полученного от солнечных батарей, выведенных на околоземную орбиту. Представляется перспективным использование циклотронов в наземных беспроводных энергосистемах.

В качестве преобразователя электромагнитных волн в электрический ток могут применяться ректенны. Попытка объединения отдельных преобразователей в решётки (по аналогии с обычными антеннами), приводят к конструктивной сложности таких энергетических конверторов. Достоинство метода — лучшее значение КПД, приближающееся к аналогичному параметру для традиционных линий электропередач.

По причине большого числа недостатков ректенны широкого применения не нашли.

Недостатки:

  • Необходимость точной юстировки антенн, что затрудняет применение такого подхода для передачи мощности на подвижные объекты.
  • Биологическая опасность СВЧ-излучения при длительном нахождении человека в области с высокой плотностью потока мощности.

Одним из примеров успешных решений транспортировки электричества этим способом служат работы новозеландской компании Emrod по излучению мощности до 2 кВт в диапазоне 5.8 ГГц при КПД в 30%.

Электромагнитная индукция

Это явление заложено в принцип действия обычного электрического трансформатора. Его обмотки не имеют гальванического контакта и связаны друг с другом через магнитное поле.

В отличие от трансформатора, в зарядных устройствах такого типа параллельно обмоткам включают конденсаторы. Их ёмкость выбирается такой, чтобы обеспечить резонанс на частоте протекающего по обмоткам тока. Резонансная передача энергии позволяет получить максимальный КПД.

Главное преимущество этого способа — наибольшая передаваемая мощность по сравнению с другими технологиями. Поэтому ЭМИ-устройства вне конкуренции в качестве беспроводных средств для зарядки электротранспорта и гаджетов. Ещё один важный плюс способа электромагнитной индукции — простота реализации и дешевизна оборудования.

Из минусов технологии — потери сигнала в расположенных поблизости металлических предметах. В них, как и в приёмной катушке беспроводного зарядного прибора, наводятся индукционные токи, поэтому сами предметы нагреваются. Кроме того, при увеличении расстояния между источником и приёмником, КПД системы быстро уменьшается. Это обстоятельство существенно ограничивает дальность действия устройств, работающих на основе рассматриваемого способа передачи. Она составляет не более нескольких десятков сантиметров.

Компания Qualcomm предложила оригинальное техническое решение под названием WEVC (Wireless Electric Vehicle Charging — беспроводная зарядка электрических транспортных средств). В нём используются индукционные катушки, одна из которых находится под днищем электромобиля, а другая — под дорожным покрытием. Это могут быть специальные места для зарядки или целые участки проезжей части, двигаясь по которым электротранспорт заряжает аккумуляторы в движении.

Интересное предложение по передаче энергии на расстояние, ограниченное размерами небольшого помещения, содержится в проекте американской компании WiTricity. Оно позволит существенно ограничить протяжённость традиционной электропроводки в зданиях, если установить в каждой комнате потолочные источники питания, использующие индукционный принцип работы. Но такой подход потребует разработки беспроводных адаптеров для различной техники.

Кроме рассмотренных подходов, возможна передача мощности на ультразвуковых частотах, но в силу множества ограничений этот способ широкого применения не нашёл, поэтому здесь не рассматривается.

В таблице ниже представлен сравнительный анализ возможностей различных технологий бесконтактной доставки питания.

Технология Диапазон частот (длин волн) Тип излучателя (приёмника) КПД Передаваемая мощность Расстояние Области применения
Лазерное излучение Оптический (инфракрасный) Лазер (приёмный фотоэлемент) До 60 До 1000 кВт Несколько сотен километров Космическая энергетика, зарядка беспилотных летательных аппаратов.
Радиоизлучение СВЧ (сантиметровый и миллиметровый) Магнетрон (ректенна с циклотронным преобразователем) До 82 До 8 000 Вт Несколько десятков километров То же. Зарядка аккумуляторов имплантов.
Традиционный передатчик (ректенна с диодами Шоттки) До 91 До 10 Вт до 2 км Зарядка беспилотных летательных аппаратов.
Электромагнитная индукция Инфразвуковой Катушки индуктивности До 80* До 270 кВт Десятки см. Зарядные станции для электротранспорта, дороги «с подзарядкой», зарядка мобильных устройств и аккумуляторов имплантов.

*Такой КПД достижим на расстояниях между катушками в единицы сантиметров.

Мифы и реальность

Исследования в области безопасности беспроводной передачи продолжаются. Как и в любом недостаточно проработанном вопросе, это обстоятельство порождает различные слухи и кривотолки. Остановимся на распространённых мифах о беспроводной передаче энергии.

Такой способ энергоснабжения представляет опасность для здоровья.

На самом деле всё, что используется человеком, представляет опасность для окружающей среды и для него самого, если не соблюдать правила техники безопасности.

Например, лазерное излучение опасно для зрения, поэтому запрещается смотреть на порты передающих устройств оптического диапазона, хотя мощность излучения такой техники составляет лишь единицы милливатт. То же самое относится к промышленному оборудованию для резки различных материалов. При работе на таких установках применяются специальные защитные средства.

Опасность длительного воздействия мощного радиоизлучения СВЧ доказана. Разработаны медицински обоснованные предельно допустимые нормы безопасных уровней, изложенные в различных документах, например, в СанПин 2.2.4/2.1.8.055-96.

Их соблюдение контролируется на этапах разработки, запуска в эксплуатацию и в процессе использования всех излучающих аппаратов. Для контроля интенсивности электромагнитного излучения существуют специальные измерительные приборы, которые доступны в разделе каталога магазина Суперайс.

Негативное влияние магнитного поля на биологические объекты вообще не подтверждено. Наоборот, индуктивная передача энергии используется в физиотерапии, например, для лечения заболеваний суставов. Наиболее известные изделия, встречающиеся в быту, — это аппараты серии Алмаг.

При передаче энергии без проводов невозможно обеспечить стабильность энергоснабжения при приемлемом КПД.

Это утверждение опровергается данными, приведёнными в таблице 1. Но эффективность зависит от выбранной технологии.

Бесконтактная доставка ресурсов делает их более дорогими.

В структуре цены на электричество в России стоимость её транзита по традиционным сетям составляет 40–50%. Примерно столько же стоит её генерация земными электростанциями. Если использовать очень дешёвую космическую энергию, то при грамотном проектировании энергосистемы цена электричества может даже уменьшиться.

Проблемы и перспективы развития

Один из факторов, сдерживающих развитие промышленного применения беспроводной передачи, — отсутствие соответствующих технических регламентов.

Сегодня несколькими организациями активно ведутся работы по созданию современных стандартов энергетических технологий. Среди них WPC (Wireless Power Consortium — Консорциум беспроводной энергии), которая занимается продвижением стандарта, регламентирующего требования к индукционным зарядным приборам для мобильной электроники (QI).

Требованиям этого документа соответствуют отдельные изделия производителей Samsung, LG Electronics, HTC, Huawei и других.

Испытываются разработки для использования излучения WiFi-роутеров с целью зарядки смартфонов и бесконтактного питания удалённых датчиков — PoWiFi (Power Over Wi-Fi — мощность через Wi-Fi).

По-видимому, будущее энергетики состоит в постепенном отказе от традиционных земных технологий в пользу солнечных ресурсов, передаваемых наземным потребителям с помощью орбитальных лазеров. Интенсивность потока энергии Солнца в оптическом диапазоне измеряется специальными приборами.

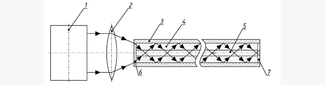
Для повышения КПД таких систем потребление мощности космическим сегментом и потери при её доставке наземным потребителям должно быть минимальным. С этой целью проводятся активные исследования в области создания лазеров с накачкой солнечным излучением, для работы которых другие источники не нужны. Как работает устройство с торцевым возбуждением поясняется следующим рисунком.

применения беспроводной передачи
Лазер с солнечной накачкой

Это устройство включает несколько компонентов:

  • концентратор солнечной энергии (1);
  • фокусирующую линзу (2);
  • сердцевину световода (5);
  • оптическое волокно (4), помещённое в защитную оболочку (3);
  • резонатор, включающий зеркала (6) и (7).

Зеркало работает как оптический режекторный фильтр — оно не пропускает волну лазерного излучения, но прозрачно для всего спектра возбуждения лазера. Таким образом, рассматриваемое устройство использует инновационную технологию в энергетике. Оно представляет собой пассивный преобразователь, концентрирующий энергию Солнца в узком луче, формируемом на выходе.

Сегодня научные исследования в области беспроводной энергии проводятся во всём мире.

Бесконтактное энергоснабжение эффективнее всего, если нужно обеспечить электричеством объекты в районах с неразвитой проводной инфраструктурой или там, где такой инфраструктуры нет вообще.

Рассматриваемые технологии незаменимы в случаях обеспечения энергией всевозможных подвижных объектов, использующих электрические силовые установки. Успешное решение задачи избирательной доставки значительных объёмов электричества на большие расстояния, по-видимому, станет главным технологическим прорывом уже в ближайшее время.


Понравилась статья? Поделитесь ей в ваших социальных сетях:
Программируемые логические интегральные схемы (ПЛИС): что это такое
Что такое схема ПЛИС и для чего она нужна расскажем в статье магазина Суперайс
Программируемые логические интегральные схемы (ПЛИС): что это такое 51
Программируемые логические интегральные схемы (ПЛИС): что это такое
Логический анализатор: что это такое и зачем он нужен
Логический анализатор: что это, чем отличается от осциллографа и нужен ли вам. Разбор классов, параметров и сравнение ПО Logic 2 vs Sigrok/PulseView.
Логический анализатор: что это такое и зачем он нужен 275
Логический анализатор: что это такое и зачем он нужен
CES 2026: что интересного для инженера и радиолюбителя
CES 2026: AI-хайп превратился в реальные платформы. Обзор новых NPU, Thunderbolt 5, 5G RedCap и гибких аккумуляторов для embedded-разработчика.
CES 2026: что интересного для инженера и радиолюбителя 242
CES 2026: что интересного для инженера и радиолюбителя